close

研究・医療・食品現場の身近なサポーター

  • 取寄せ 取寄せ

耐薬CTFEルアーコック B-RL-3L

商品コード:
2-9974-06
メーカー希望小売価格
29,500円 (税込10% 32,450円)
販売価格
25,670 円 (税込10% 28,237 円)
送料別
11個 (11個あたり25,670円(税込10% 28,237円))

5~6営業日以内に発送予定。

製品番号:
B-RL-3L
関連カテゴリ:
研究用品・設備 > 5.汎用器具・消耗品 > 39.テフロン・ジョイント
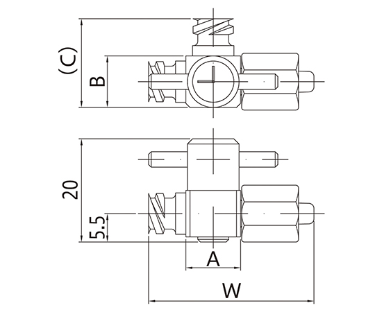
●すべてフッ素樹脂を使用しているので、耐薬品性に優れています。●ワンタッチで接続できるため、操作が簡単になっています。●接液部材質:CTFE、PTFE(フッ素樹脂)●使用温度範囲:5~40℃●耐圧:0.25MPa●接続方法:ルアーロックオス/ルアーメス×2●A:10.6●B:10●(C):17.2●(W):32●コード番号:F-2131-002